-
-
-
Tổng tiền thanh toán:
-
Sản phẩm đã được thêm vào giỏ hàng
Số lượng:
Tổng tiền:
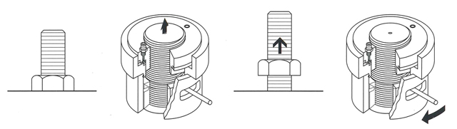
Phương pháp căng bu lông cho lắp ráp bích có chất lượng bảo đảm hơn phương pháp xiết bằng chì vặn mô men thủy lực, nhược điểm nó yêu cầu bu lông dài hơn.






Số lượng:
Tổng tiền: