-
-
-
Tổng tiền thanh toán:
-
MTS nâng cấp điều tốc thủy lực: Từ động cơ bước điện sang cơ cấu servo thủy lực tuyến tính
23/07/2025
Vioth giải thích lý do tại sao các kỹ sư nhà máy nên nâng cấp van điều khiển bộ điều tốc tuabin hơi để tối ưu hóa việc điều khiển máy tuabin.
Ở cấp độ công ty vận hành một nhà máy, một mô hình kinh doanh tiêu chuẩn là giảm chi phí và tăng doanh thu. Việc đạt được các mục tiêu kinh doanh cấp cao này bắt đầu bằng việc thực hiện ở cấp nhà máy.
Các lĩnh vực cải tiến điển hình bao gồm tăng năng suất và thông lượng đồng thời giảm thời gian ngừng hoạt động, sử dụng năng lượng và chi phí bảo trì – tất cả trong khi vẫn chú ý cải thiện an toàn.
Tại hầu hết các nhà máy nhiệt điện, đạt được sự kiểm soát tối ưu hóa các đoàn tàu máy tua-bin là rất quan trọng để tối đa hóa sản xuất. Gói hiện đại hóa cấp nhà máy hiệu quả đảm bảo rằng tất cả các yếu tố điều khiển máy tua-bin quan trọng đang hoạt động liền mạch với nhau. Điều này đạt được thông qua các thuật toán điều khiển tiên tiến, đo lường chính xác và truyền động chính xác. Các công nghệ này cùng nhau giúp một công ty thực hiện các ưu tiên của họ tại một nhà máy.
Cũng giống như bất kỳ hệ thống điều khiển nào, điều khiển máy tua-bin bao gồm: Đo lường, Hệ thống điều khiển, Phần tử điều khiển.
Một hệ thống điều khiển máy tua-bin tốt sẽ giữ cho quy trình ổn định và cung cấp sự bảo vệ cho máy móc cũng như các quy trình ngược dòng và xuôi dòng trong trường hợp xảy ra sự cố. Để hiểu tầm quan trọng của việc các yếu tố này hoạt động cùng nhau, hãy nghĩ đến phép loại suy sau: trong một chiếc ô tô đang chạy trên đường, người lái xe là người đo khoảng cách giữa các làn đường với ô tô của họ, mức xăng và dầu cũng như phản ứng của lốp xe trên đường.
Hệ thống điều khiển sẽ tương tự như bộ não của người lái xe đưa ra quyết định về những việc cần làm tiếp theo – họ cần tăng tốc hay giảm tốc độ?
Cơ cấu truyền động phản hồi giống như bàn đạp trên ô tô, và chúng phải hoạt động tốt để người lái có thể an toàn và đến đích đúng giờ.
Phản hồi của chiếc xe là phản hồi từ quá trình – lốp xe có duy trì độ bám đường không, tốc độ có tăng lên khi cần thiết không? Rốt cuộc, chiếc xe có ở yên trên đường khi con nai lao tới trước mặt nó hay người lái xe phải tấp vào lề?
Tất cả các yếu tố này hoạt động cùng nhau nhanh đến mức người lái xe thậm chí không nghĩ về nó trong hầu hết thời gian. Điều này cũng đúng đối với việc điều khiển máy tua-bin: biết nơi cần đến là kế hoạch chi tiết về cách thiết kế một hệ thống hoạt động theo cách mà nó được yêu cầu.
Các kỹ sư nhà máy thường tập trung vào việc nâng cấp hệ thống điều khiển điện tử; nhiều khi điều này không mở rộng đến các bộ truyền động điều khiển thực tế đang hoạt động tại hiện trường. Ví dụ, hầu hết các nhà máy có thể đã nâng cấp và đang sử dụng các nền tảng điều khiển tiên tiến nhất với các thuật toán xác định nhất được điều chỉnh và hiệu chỉnh để điều chỉnh bộ truyền động van điều khiển bộ điều tốc tuabin hơi. Mặc dù vậy, các bộ truyền động van điều khiển bộ điều tốc tuabin hơi trong lĩnh vực này thường bị bỏ qua khi có liên quan đến việc nâng cấp công nghệ và hiệu quả vận hành.

Hình 1. Mọi yếu tố đều quan trọng để đạt được khả năng kiểm soát máy tua-bin hiệu quả và đáng tin cậy.

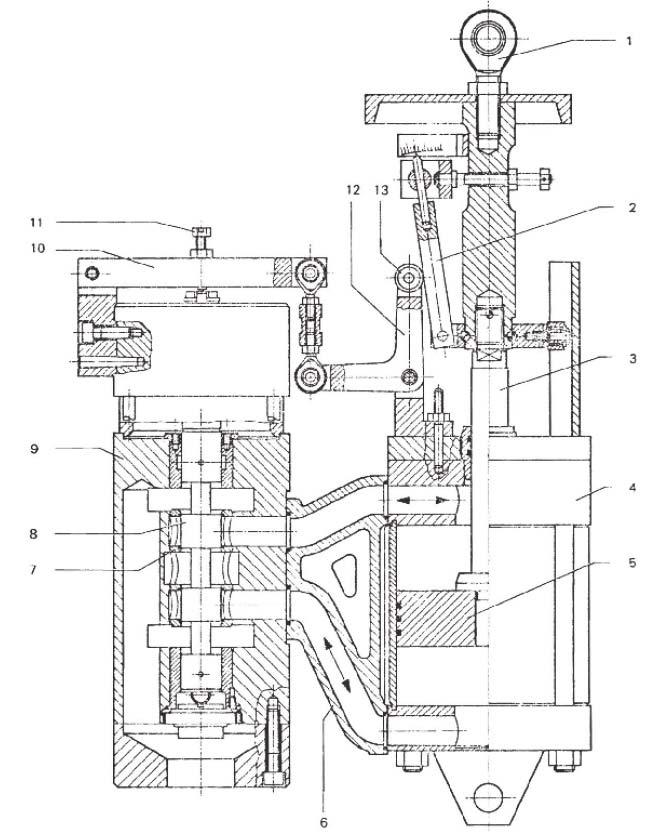
Hình 2. Bố trí pít-tông trợ lực và dẫn động truyền thống.
Bộ cung cấp dầu
Nhiều hệ thống thủy lực truyền thống là hệ thống vòng hở sử dụng bộ nguồn thủy lực (HPU), bình chứa cấp liệu bằng trọng lực và một loạt servo và/hoặc van tỷ lệ để điều khiển. Các hệ thống này có một lượng dầu lớn và về cơ bản tất cả đều sử dụng cùng một nguyên tắc hoạt động.
Chất lỏng thủy lực được hút từ bể chứa bằng động cơ và máy bơm để tạo điều kiện thuận lợi cho chuyển động của xi lanh bộ truyền động, sau đó được xả trở lại bể chứa khi xi lanh di chuyển đến vị trí. Dầu được lưu thông liên tục ở tần số cao để đạt được hiệu suất kiểm soát độ phân giải cao cần thiết cho ứng dụng. Vì hệ thống không được bịt kín và mở ra khí quyển tại bể chứa nên dầu có thể bị hỏng.
Cần lưu ý rằng dầu điều khiển là từ cùng một bộ nguồn thủy lực cung cấp dầu bôi trơn cho ổ trục tuabin/máy nén. Nếu phớt trục tuabin hoặc trục máy nén bị rò rỉ, chúng cũng có thể làm nhiễm bẩn dầu trong bình chứa dầu bôi trơn. Tiếp xúc với khí quyển làm tăng thêm độ ẩm, gây ra sự xuống cấp cho hệ thống dầu do độ ẩm xâm nhập, quá trình oxy hóa và tích tụ axit tương ứng. Sự lưu thông liên tục của chất lỏng thủy lực làm tăng thêm nhiệt cho dầu, làm tăng tốc và làm trầm trọng thêm sự phân hủy của chất lỏng thủy lực.
Để chống lại các tác động của sự cố dầu, người vận hành nhà máy được yêu cầu thực hiện bảo trì ở mức độ cao đối với các hệ thống này. Các hệ thống lọc mở rộng được sử dụng, đòi hỏi khoảng thời gian bảo trì cao cùng với việc xả và thay thế chất lỏng thủy lực. Cuối cùng, chất lỏng thủy lực xuống cấp đến mức hệ thống dẫn động servo và van tỷ lệ bị kẹt, dẫn đến mất kiểm soát và thời gian ngừng hoạt động của hệ thống.
Một cách để giải quyết các vấn đề về dầu này là xem xét công nghệ truyền động điều khiển bằng servo của MTS.
Để giảm bớt tất cả các vấn đề về dầu liên quan đến các hệ thống thủy lực truyền thống, các công ty đang thay thế bộ truyền động van điều tốc của nhà sản xuất thiết bị gốc (OEM) của tuabin hơi bằng các hệ thống truyền động độc lập do MTS cung cấp. Việc tiết kiệm chi phí bảo trì và giảm thời gian chết làm cho hệ thống trở thành một sự thay thế phù hợp. Dầu thủy lực của bộ truyền động là loại độc lập và do đó không sử dụng dầu điều khiển tuabin hiện có. Cả nhu cầu bảo dưỡng thường xuyên xi lanh điện OEM và các vấn đề do dầu điều khiển bị bẩn hoặc nhiễm bẩn đều được loại bỏ. Chi phí lắp đặt cũng thấp hơn vì không cần đường ống thủy lực mới. Trên thực tế, trong nhiều trường hợp, việc cài đặt và hiệu chỉnh bộ truyền động chỉ mất chưa đầy nửa ngày.
Điều đáng chú ý là các động cơ servo OEM (bộ truyền động) hiện có tiếp xúc với dầu điều khiển tuabin, có thể gây ô nhiễm và ảnh hưởng đến hiệu suất của động cơ servo. Hơn nữa, các bộ phận bên trong có thể bắt đầu dính do tiếp xúc với dầu điều khiển tuabin bị nhiễm bẩn. Nhiều liên kết phản hồi cơ học là điểm mài mòn, yêu cầu bảo trì cao. Cuối cùng, việc trang bị thêm động cơ servo hiện có cho bộ truyền động MTS cũng có thể ít tốn kém hơn là tiếp tục với chi phí bảo trì cao của động cơ servo OEM hiện có. Các sự cố phổ biến mà máy tua-bin gặp phải do công nghệ cơ khí truyền thống dựa trên dầu bao gồm: Thường xuyên chạy máy. Dầu bẩn, dẫn đến van servo thường xuyên phải bảo dưỡng hoặc hỏng hóc. Thiết bị truyền động cơ khí dính. Rò rỉ dầu (nguy cơ hỏa hoạn). HPU vận hành và bảo dưỡng hệ thống dầu điều khiển bộ điều tốc. Thiếu phụ tùng thiết bị truyền động OEM.
Thiết bị truyền động điện được thiết kế cho dịch vụ điều chế liên tục với dải chết có thể điều chỉnh chặt đến 0,05% hành trình. Tính không nén vốn có của hệ thống thủy lực cung cấp hiệu suất điều khiển chính xác, ổn định và lặp lại, như yêu cầu trong ứng dụng đòi hỏi khắt khe này. Những hạn chế liên quan đến thủy lực dựa trên HPU được loại bỏ theo thiết kế. Hệ thống này sử dụng công nghệ van khớp dòng chảy (FMV) đã được cấp bằng sáng chế. Các FMV được sử dụng cùng với bơm bánh răng hai chiều trong hệ thống thủy lực kín áp suất dương, loại bỏ sự cần thiết của bình chứa thủy lực, servo và van tỷ lệ có vấn đề. Thiết kế mạch thủy lực có nghĩa là không cần lọc dầu điều khiển van điều khiển và không cần bảo dưỡng dầu như một phần của kế hoạch bảo dưỡng phòng ngừa. Thiết bị truyền động điện cũng đơn giản để đảm bảo an toàn khi hỏng hóc mà không gây bất kỳ ảnh hưởng nào đến độ chính xác của điều khiển. Với cả công nghệ dự phòng sự cố dựa trên lò xo và bộ tích điện, bộ truyền động có thể đạt được tốc độ hành trình nhanh tới 300 mili giây, đáp ứng các yêu cầu về điều khiển tua-bin. Các tùy chọn dự phòng là một lợi ích khác của việc sử dụng công nghệ này.


Hình 3. Bộ chấp hành MTS trước và sau trên tuabin hơi De Laval.
Nghiên cứu một trường hợp
Thiết bị điều tốc cơ khí và thủy điện công nghệ thấp hàng chục năm tuổi vẫn tiếp tục được vận hành với nhiều tua-bin trong các nhà máy lọc dầu và nhà máy chế biến. Thiết bị này có thể đưa ra những thách thức về bảo trì và vận hành. Nó có thể dẫn đến giảm hiệu quả và độ tin cậy trong quá trình sản xuất. Công việc của bộ điều tốc tua-bin là cung cấp khả năng kiểm soát tốc độ chính xác, do đó ngăn chặn các dao động của quy trình và tắt máy ngoài ý muốn, đồng thời cải thiện năng suất của quy trình. Để đạt được mục tiêu này một cách chính xác và đáng tin cậy, nên thực hiện trang bị thêm bộ truyền động van điều chỉnh. Ưu điểm của việc này bao gồm ổn định tốc độ thiết bị với khả năng kiểm soát số vòng quay trên phút (rpm) chặt chẽ hơn, đồng thời tránh gây phiền toái cho quy trình và thiết bị. Điều này cho phép tuabin hoạt động với công suất tối đa mà không bị gián đoạn.
Thiết bị truyền động dính
Những khó khăn trong việc kiểm soát tốc độ có nghĩa là tuabin hơi nước phải được vận hành thủ công và ở tốc độ mục tiêu cao hơn mong muốn. Ngoài ra, không thể thực hiện chia tải với máy nén xử lý thứ cấp và người vận hành phải sử dụng van xả để điều chỉnh lưu lượng khí. Ngoài ra, tuabin hơi nước không thể sử dụng trình tự khởi động tự động hiện có do bộ truyền động bị kẹt. Hệ thống truyền động mới được chỉ định là một đơn vị độc lập MTS. Nó sử dụng một mô-đun công suất được điều khiển theo vị trí, được điều khiển bởi tín hiệu 4 – 20 mA, để quay một bơm dầu bánh răng bên trong giúp chuyển chất lỏng thủy lực từ một bên của pít-tông xi-lanh sang bên kia. Một thanh kéo dài từ xi lanh được kết nối cơ học với giá đỡ van bộ điều tốc tuabin hơi và có thể định vị giá đỡ từ vị trí đóng sang vị trí mở. Hệ thống không cần nguồn cung cấp dầu bên ngoài. Việc trang bị thêm bộ truyền động đã được thực hiện trong thời gian ngừng hoạt động đột xuất. Do đó, chuỗi máy tua-bin có thể khớp chính xác hơn hiệu suất của nó với điểm đặt quy trình mong muốn. Điều này cũng cho phép sử dụng trình tự khởi động tự động và các tính năng chia tải của hệ thống điều khiển. Việc kiểm soát hiệu quả của máy nén bắt đầu bằng việc điều khiển chính xác trình điều khiển tuabin hơi, nhằm điều chỉnh tốc độ của máy nén. Nâng cấp bộ truyền động phụ thuộc vào thiết kế tuabin. Đối với tuabin có van điều khiển gắn trên vỏ, bộ truyền động có thể điều khiển riêng lẻ nhiều van điều khiển hoặc có thể có một bố trí pít-tông công suất duy nhất điều khiển thanh hoặc giá đỡ, cho phép mở tuần tự nhiều van hơi được ghép nối cơ học với nhau. Đối với tuabin có van điều khiển gắn trên ngực, van kiểu quả cầu bên ngoài tuabin có thể cung cấp điều khiển. Trong một số cấu hình, một cụm van điều khiển có hành trình nhỏ và yêu cầu lực đẩy thấp có thể được sử dụng để chuyển dầu bôi trơn đến pít-tông trợ lực.
Phần kết luận
Tối ưu hóa hoạt động truyền động là yếu tố chính góp phần tối đa hóa khả năng điều khiển chính xác, tính khả dụng và an toàn của máy tua-bin – làm như vậy giúp giảm thiểu sự xáo trộn của quy trình và nhanh chóng đưa hoạt động trở lại bình thường một cách an toàn và có kiểm soát.


Hình 4. Ví dụ về hệ thống truyền động bằng khí nén kém hiệu quả hơn phụ thuộc vào dầu do khách hàng cung cấp khi trang bị thêm bộ điều khiển so với bộ truyền động của MTS hoàn toàn khép kín.
Số lượng:
Tổng tiền: